一種可擕式風扇型筆記型電腦供電裝置,含有安裝電腦散熱風扇的散熱座…
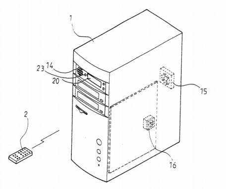
Sep 09, 2019本文涉及降低電腦主機殼內溫度的裝置,特別是一種電腦主機殼用的電腦散熱風扇裝置。…
Sep 09, 2019
本文涉及一種電腦CPU散熱風扇,特別是涉及一種導風罩式電腦CPU散熱風扇。…
Sep 04, 2019
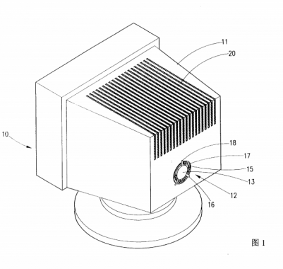
本文涉及一種電腦顯示器內建式散熱風扇,尤指一種散熱效果較佳的的電腦顯示器的散熱風扇結構。 …
Aug 22, 2019
以往筆記型電腦 散熱風扇 配置裝置有下列的缺點 (1)散熱風扇的垂直回流 (2)容易產生較大噪音——風源的回流與散熱扇葉形成干擾,容易造成較大的噪音。…
Jul 31, 2019